摘要: 在2020年最后几天,美国专利商标局(U.S。 Patent and Trade... [阅读全文]

在2020年最后几天,美国专利商标局(U.S。 Patent and Trademark Office)又授予了苹果公司泰坦项目的两项专利,分别涉及车辆气候控制系统(climate control)以及增强型车辆态势感知警报系统(enhanced vehicle situational awareness alert system)。

苹果新获两项汽车专利

苹果泰坦项目概念图(图片来源: patentlyapple.com )

气候控制系统

2017年8月,媒体首次发现苹果在欧洲专利局(European Patent Office)申请了车辆“气候控制系统”专利;2018年该专利在美国被公布;而现在,苹果被正式授予了该项专利。

在专利文件中,苹果指出其提供了一个车辆气候控制系统,能够控制汽车座舱各区域的气候条件,而且经过配置之后,该气候控制系统能够控制一个或多个车内组件,以改变与一个或多个座舱区域有关的气候条件,从而实现近乎最优的一组舒适条件。例如,该系统能够控制车窗部件、天窗部件等。在为一个或多个座舱区域确定最佳舒适条件时,该系统能够优化乘员不同身体部位的感知温度,并在一组或多组条件阈值内保证不同的气候特征,如气流、湿度、温度等。

此外,车内的一个或多个传感器可能包括一个摄像头,该摄像头经过配置可以监控一个或多个座舱区域内的一个或多个特定乘员的一个或多个特定身体部位的温度。由各种车内传感器生成的数据可通过一个或多个通信管道传送到该气候控制系统。

苹果新获两项汽车专利
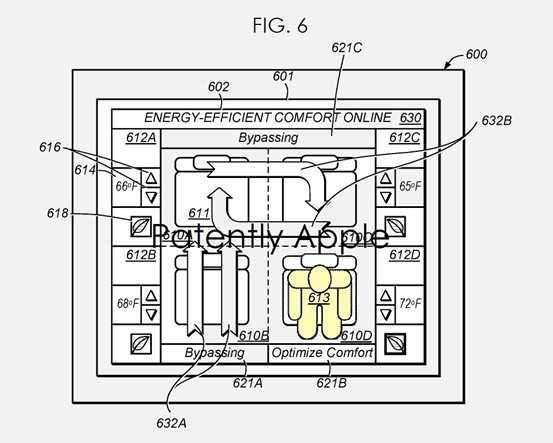
苹果专利图6(图片来源:patentlyapple.com)

为了能够控制车内的气候,苹果介绍了一些新一代传感器,例如能够测量车辆(102)特定车窗组件中特定车窗太阳辐射的辐射传感器(radiance sensor),以及测量车辆特定天窗组件特定天窗太阳辐射的辐射传感器。

其他传感器可能包括用于测量车外环境相对湿度的湿度传感器、在接近车外的一个或多个特定部位测量一个或多个位置风速、气流量等的风速传感器。

苹果专利图6展示了一个图形显示界面,提供了与该气候控制系统有关的图形显示。显示界面#600可能安装到车辆中的一个或多个部分中,包括车辆座舱一个或多个区域内的一个或多个表面。例如,该显示屏界面可能安装到车辆座舱的仪表盘表面。

增强型车辆态势感知警报系统

苹果获得的第二项专利名为“增强态势感知的无线车辆系统”(Wireless vehicle system for enhancing situational awareness),该专利主要涉及移动电子设备,如车上的设备;更具体地说,涉及一些可以让车辆从附近车辆的无线传输中获取态势感知信息系统,并为驾驶员提供警报。

苹果新获两项汽车专利
苹果专利图2、8、9(图片来源:patentlyapple.com)

苹果专利图2展示了车辆在行驶时,其多个设备如何无线互动;专利图8展示了车辆的显示屏,该显示屏正在向驾驶员展示增强型态势感知警报信息,如驾驶员车辆与同一道路附近车辆的图表;专利图9展示了车辆显示屏正在向驾驶员显示有关附近有急救车辆的警报信息。